| Количество вопросовВремя тестирования | |
Платформа 1 движется по горизонтали равномерно со скоростью v = 1 м/с. Тело 2 относительно платформы движется по закону s = 0,5 t. Найти закон движения тела 2, если при t = 0 xA = 0. Ответ округлить до десятых. |
| Платформа движется по горизонтали равномерно со скоростью 1 м/с. Относительно платформы в том же направлении движется точка по закону s = 0,5 t. Найти координату х точки в момент времени t = 4 с, если при t = 0 х = 0. |
Тело 1 движется по наклонной плоскости равномерно со скоростью v = 2 м/с. Точка М относительно тела 1 движется согласно уравнению АМ = 0,5 t. Определить координату хM точки М в момент времени t = 2 с, если при t = 0 координата хM = 0, углы α = β = 30°. Ответ округлить до сотых. |
Тело 1 движется по горизонтали равномерно со скоростью v1 = 2 м/с. Тело 2 относительно тела 1 движется также равномерно со скоростью v2 = 4 м/с. Пренебрегая размерами тела 2, найти его координату х2 в момент времени t = 0,5 с, если при t = 0 координата x = 0. |
Платформа 1 движется по горизонтали равномерно со скоростью v = 1,5 м/с. Тело 2 относительно платформы движется по закону s = 0,5 t. Найти закон движения тела 2, если при t = 0 xA = 0. |
Тело 1 движется по наклонной плоскости равномерно со скоростью v = 2 м/с. Точка М относительно тела 1 движется согласно уравнению O1M = 0,5t. Определить координату точки М в момент времени t = 1 с, если при t = 0 хM = 0, α = β = 30°. Ответ округлить до сотых. |
В трубке, вращающейся по закону φ = 4t вокруг оси Оz, движется шарик по закону ОА = 5t2. Определить координату хА шарика в момент времени t = 0,25 с. Ответ округлить до тысячных. |
По стержню, вращающемуся по закону φ = 2t вокруг оси Оz, движется ползун А по закону ОА = 3t3. Пренебрегая размерами ползуна, определить его координату уА в момент времени t = 0,5 с. Ответ округлить до тысячных. |
Точка М движется по диску радиуса R = 0,5 м согласно уравнению АМ = 2t2. Диск вращается с постоянной угловой скоростью ω = 2 рад/с. Определить дуговую координату s точки М в момент времени t = 0,5 с, если в начальный момент точка находилась на оси Ох. |
Точка М движется по диску радиуса R = 0,5 м согласно уравнению АМ = 2t2. Диск вращается с постоянной угловой скоростью ω = 2 рад/с. Определить дуговую координату s точки М в момент времени t = 2 с, если в начальный момент точка находилась на оси Ох. |
Точка М движется по диску радиуса R = 0,5 м согласно уравнению АМ = 2 t2. Диск вращается с постоянной угловой скоростью ω = 4 рад/с. Определить дуговую координату s точки М в момент времени t = 1 с, если в начальный момент точка находилась на оси Ох. |
| Тележка катится прямолинейно по закону s = 2t. Относительное движение точки М по тележке задано уравнениями xM = 3t и yM = 4t. Определить абсолютную скорость точки М в момент времени t = 1 с. Ответ округлить до десятых. |
Определить абсолютную скорость в момент времени t = 2 с точки М, которая движется по диагонали прямоугольной пластины 1 по закону М0М= 0,3t2. Сама пластина движется вертикально в плоскости рисунка согласно уравнению s = 1 + 0,5 sin(π/2)t. Угол α = 45°. Ответ округлить до тысячных. |
Тележка 1 движется по наклонной плоскости по закону хе = 0,5t2. Внутри тележки движется ползун 2 по закону у1 = 1 + 0,05 sin 0,25 πt. Определить абсолютную скорость точки М ползуна 2 в момент времени t = 0,1 с. Ответ округлить до тысячных. |
Кривошип OA вращается по закону φ = πt/3. Заданы длины стержней ОА = АВ = 0,25 м. Относительное движение точки М по ползуну 1 задано уравнением x1 = 0,3 + 0,1 sin(πt/6). Определить модуль абсолютной скорости точки М в момент времени t = 1 с. Ответ округлить до сотых. |
Определить абсолютную скорость точки М в момент времени t = 1 с, если ее движение по квадратной пластине 1 задано уравнением ВМ = 0,1t2. Кривошипы АВ = СD = 0,5 м вращаются по закону φ = 0,25 πt. Ответ округлить до тысячных. |
Кривошип ОА = 0,2 м вращается вокруг оси О с угловой скоростью ω = 20 рад/с и приводит в движение кулису 1, движущуюся поступательно. Найти скорость кулисы при угле α = 30°. |
По грани призмы, движущейся со скоростью ve, скользит конец стержня АВ. При каком угле α в градусах абсолютная скорость
точки А будет равна скорости призмы ve ? |
Тело 1 движется по закону х = sin πt. Тело 2 движется относительно тела 1 по закону y = sin (π + πt). Найти абсолютную скорость тела 2 при t = 1 с. Ответ округлить до сотых. |
По шатуну 2 шарнирного параллелограмма ОАBС скользит втулка 3. К точке D втулки
шарнирно прикреплен стержень 4. Для данного положения механизма определить скорость стержня 4, если скорость точки А кривошипа 1 равна 2 м/с. |
На шатун 1 кривошипно-ползунного механизма надета втулка 2. К точке С втулки шарнирно прикреплен стержень 3. Для данного положения механизма определить скорость стержня 3, если длина ОА = 0,5 АВ и скорость точки А кривошипа 4 равна vА = 3 м/с. Ответ округлить до сотых. |
Точка М движется по ободу диска, радиус которого К = 0,8 м, со скоростью vr =
= 0,4 м/с. Определить абсолютную скорость точки М в указанном положении, если закон вращения диска φ = t. |
Точка М движется по ободу диска, радиус которого R = 0,1 м, согласно уравнению ОМ = 0,3 t. Определить абсолютную скорость точки М в указанном положении, если закон вращения диска φ = 0,4t. Ответ округлить до тысячных. |
Диск радиуса R = 0,04 м вращается вокруг точки О в плоскости чертежа с угловой скоростью ω = 0,5t. По ободу диска движется точка М с постоянной относительной скоростью vr = 0,3 м/с. Определить абсолютную скорость точки М в момент времени t = 2 с, если угол α = 60°. Ответ округлить до тысячных. |
Кольцо вращается вокруг оси О, перпендикулярной плоскости чертежа, с постоянной угловой скоростью ω = 4 рад/с. Находящийся в кольце шарик М движется по закону М0М = 0,2 t. Определить абсолютную скорость шарика в указанном на чертеже положении, если радиус R = 0,1 м. |
Квадратная плита вращается вокруг оси ОО1 с угловой скоростью ω = 3 рад/с. Вдоль стороны плиты движется точка М с постоянной скоростью vr = 4 м/с. Определить абсолютную скорость точки М в указанном на рисунке положении, если стороны квадрата равны 6 м. Ответ округлить до десятых. |
В трубке, имеющей форму полуокружности, движется шарик М с постоянной скоростью vr = 3 м/с. Определить модуль абсолютной скорости шарика в положении М1, если трубка вращается с угловой скоростью ω = 3 рад/с, а радиус R = 1 м. Ответ округлить до сотых. |
Конус вращается вокруг оси Оz с угловой скоростью ω = 3 рад/с. По его образующей с постоянной скоростью vr = 4 м/с движется точка М в направлении от A к B. Определить модуль абсолютной скорости этой точки в положении, когда расстояние АМ = 2 м, если угол α = 30°. |
Диск вращается вокруг оси Оz. По его ободу движется точка М с постоянной относительной скоростью vz = 9 м/с. Определить переносную скорость точки М в момент, когда ее абсолютная скорость равна 15 м/с. |
Диск вращается вокруг оси Оz по закону φ = 4 sin 3t. По его ободу движется точка М согласно уравнению АМ = 0,66 sin 6t + 4. Определить абсолютную скорость точки М в момент времени t = 0,35 с, если радиус R = 1 м. Ответ округлить до сотых. |
Конус, по образующей которого движется точка М согласно уравнению АМ = 2t, α = 30°, вращается вокруг оси Оz по закону φ = 4 sin 0,4t. Определить модуль переносной скорости точки М в момент времени t = 2 с. Ответ округлить до сотых. |
Пластина АВСD вращается вокруг оси Оz с угловой скоростью ω = 4t. По ее стороне ВС в направлении от В к С движется точка М с постоянной скоростью 9 м/с. Определить модуль абсолютной скорости точки М в момент времени t = 3 с, если длина АВ = 1 м. |
Кривошип 1 длиной ОА = 0,8 м вращается с угловой скоростью ω1 = 5 рад/с вокруг оси О. В положении, указанном на рисунке, определить скорость ползуна 2 относительно кулисы 3. |
Тело 1, имеющее форму полуцилиндра, скользит по горизонтальной плоскости со скоростью v = 0,2 м/с, поворачивая шарнирно закрепленный в точке А стержень АВ. Определить относительную скорость точки касания М, если угол α = 30°. Ответ округлить до тысячных. |
Стержень 2 кулисного механизма движется со скоростью v = 1 м/с. Для указанного положения механизма определить угловую скорость кулисы 1, если расстояние ОА = 1 м. Ответ округлить до тысячных. |
Стержень 1 кулисного механизма движется вверх со скоростью v1 = 2 м/с. Для заданного положения механизма определить угловую скорость кулисы 2, если расстояние l = 40 см. Ответ округлить до сотых. |
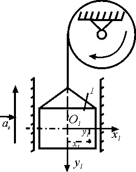
| Тележка движется по горизонтальной оси. В данный момент времени ускорение тележки аe = 2 м/с2. По тележке движется точка М согласно уравнениям x1 = 0,3t2 и y1 = 0,5 t2. Определить абсолютное ускорение точки М. Ответ округлить до сотых. |
Пластина приводится в движение двумя кривошипами АO1 = ВO2 = 1 м, вращающимися с постоянной угловой скоростью ω = 2π. По пластине движется точка М согласно уравнениям x1 = 0,2t3 и y1 = 0,3t2. Определить абсолютное ускорение точки М в момент времени t = 1 с, если угол φ = 30°. Ответ округлить до десятых. |
Пластина 1 совершает колебания со скоростью vе = (π/2) sin (π/4)t. По пластине движется точка М согласно уравнениям x1 = 0,2t2 и у1 = 0,3 t. Определить абсолютное ускорение точки М через 3 с после начала движения. Ответ округлить до тысячных. |
Кабина лифта поднимается с постоянным ускорением ае = 5 м/с2. Внутри кабины в плоскости чертежа движется точка М по закону x1 = 0,5t2 и у1 = 0,3t2. Определить абсолютное ускорение точки М. Ответ округлить до сотых. |
Тележка движется по наклонной плоскости с ускорением ае = 2 м/с2. По тележке в плоскости чертежа движется точка М согласно уравнениям x1 = 3t2 и у1 = 4t2. Определить абсолютное ускорение точки. Ответ округлить до десятых. |
Тележка движется со скоростью vе = sin(π/3)t. Стержень О1М длиной 1 м, закрепленный в центре тележки, движется по закону φ = 0,5 πt. Определить абсолютное ускорение конца стержня (точки М) в момент времени t = 0,5 с. Ответ округлить до сотых. |
Тело 1 движется в вертикальной цилиндрической трубе 2 по закону se = 1 + 0,3 sin(π/3)t. Шарик М движется по каналу внутри тела 1 по закону МoМ = 0,1 е3. Определить абсолютное ускорение шарика в момент времени t = 0,5 с, если известен угол α = 45°. Ответ округлить до тысячных. |
Тележка движется по закону sе = 0,5 t3. По тележке в плоскости чертежа движется точка М согласно уравнениям х1 = 0,3 t и у1 = 0,1t 2. Определить абсолютное ускорение точки М в момент времени t = 1 с. Ответ округлить до сотых. |
| Относительное движение точки М определяется уравнениями хr = еt, yr = 2 sin t, а переносное поступательное движение – уравнениями хe = е- t; ye = 2 соs t. Оси абсолютной и относительной систем координат параллельны. Определить модуль абсолютного ускорения точки М в момент времени t = 0. Ответ округлить до сотых. |
Точка М маятника движется по окружности радиуса r = 0,1 м согласно уравнению s = 0,01 sin10 t в лифте, опускающемся с постоянным ускорением а = 0,1 м/с2. Определить модуль абсолютного ускорения точки М в момент времени, когда координата s = 0. |
По стержню АВ шарнирного параллелограмма ОАВО1 движется точка М с ускорением а = 0,4 м/с2. Определить модуль абсолютного ускорения точки М в момент времени, когда угол φ = 0,5π, угловая скорость стержня ОА длиной 0,1 м равна ω = 4 рад/с, а угловое ускорение ε = 0,4 рад/с2. Ответ округлить до сотых. |
Звено О1А вращается согласно уравнению φ = 2t. По ободу диска радиуса r = 0,5 м движется точка М по закону s = 2r t. Определить модуль абсолютного ускорения точки М в момент времени t = 0,25π. |
По стержню АВ шарнирного параллелограмма ОАВО1 движется точка М с ускорением а = соs t. Стержень ОА длиной 2 м вращается согласно уравнению φ = t. Определить модуль абсолютного ускорения точки М в момент времени t = π. |
Ползун 1 движется по горизонтальным направляющим с постоянным ускорением a1 = 4 м/с2. Точка 2 перемещается по отношению к ползуну с ускорением а2 = 3 м/с2. Определить абсолютное ускорение точки. Ответ округлить до сотых. |
По горизонтальной плоскости движется кулачок 1 с ускорением а1 = 0,6 м/с2. Определить ускорение толкателя 2, если угол α = 30°. Ответ округлить до тысячных. |
| Точка М движется от начала координат со скоростью v = 2 м/с по стержню, образующему угол 30° с вертикальной осью вращения Оz. Угловая скорость ω = 4 рад/с. Определить проекцию на ось Ох кориолисова ускорения точки М, когда стержень находится в плоскости Оуz. Ответ округлить до целых. |
По стороне треугольника, вращающегося вокруг стороны АВ с угловой скоростью ω = 4 рад /с, движется точка М с относительной скоростью vr = 2 м/с. Определить модуль ускорения Кориолиса точки М, если угол α = 30°. |
По стороне треугольника, вращающегося вокруг стороны АВ с угловой скоростью ω = 8 рад/с, движется точка М с относительной скоростью vr = 4 м/с. Определить модуль ускорения Кориолиса точки М. |
По диаметру диска, вращающегося вокруг вертикальной оси с угловой скоростью ω = 2t, движется точка М с относительной скоростью vr =4t. Определить модуль ускорения Кориолиса точки М в момент времени t = 2 с. |
По ободу полукруга, вращающегося вокруг диаметра с угловой скоростью ω = 4 рад/с, движется точка М с относительной скоростью vr. Определить модуль ускорения Кориолиса точки М в указанном положении. |
Трубка вращается вокруг оси ОО1 с угловой скоростью ω = 1,5 рад/с. Шарик М движется вдоль трубки по закону М0М = 4t. Найти модуль ускорения Кориолиса шарика. |
Пластина АВС вращается вокруг оси Оz по закону φ = 5t 2 , а по ее стороне АС движется точка М согласно уравнению АМ = 4t3. Определить ускорение Кориолиса точки М в момент времени t = 0,5 с. |
Диск вращается вокруг оси Оz по закону φ = 4 sin 0,25πt. По ободу диска движется точка М согласно уравнению АМ = 0,25 πR t2. Определить ускорение Кориолиса точки М в момент времени t = 1 с, если радиус R = 0,4 м. Ответ округлить до сотых. |
Диск-эксцентрик вращается равноускоренно из состояния покоя с угловым ускорением ε = 3 рад/с2 вокруг оси Оz. По его ободу равномерно движется точка М со скоростью 0,1 м/с. Определить ускорение Кориолиса точки М в момент времени t = 3 с. Ответ округлить до десятых. |
Диск вращается вокруг оси Оz по закону φ = 1,28 sin πt. По его ободу движется точка М согласно уравнению АМ = 15 t2. Определить ускорение Кориолиса точки М в момент времени t = 1/3 с, если оси Ох и Оу расположены в плоскости диска. Ответ округлить до десятых. |
По стороне АВ прямоугольной пластины, вращающейся в плоскости чертежа, движется точка М по закону АМ = 3 sin (π/3)t. Определить угловую скорость пластины ωе в момент времени t = 2 с, если ускорение Кориолиса в точке М в этот момент равно 4 π м/с2. |
Диск вращается равноускоренно вокруг оси Оz с угловым ускорением ε = 2 рад/с2. С какой скоростью по ободу этого диска должна равномерно двигаться точка М, чтобы в момент времени t = 1 с ускорение Кориолиса этой точки было равно 20 м/с2, если начальная угловая скорость диска равна 3 рад/с. (2) |
Диск-эксцентрик равномерно вращается в плоскости чертежа. По его ободу движется точка М по закону АМ = 1,5t2. Чему должна равняться угловая скорость диска ω, для того чтобы ускорение Кориолиса точки М в момент времени t = 1 с было равно 24 м/с2? |
По ободу диска, вращающегося в плоскости чертежа с угловой скоростью ω = 2 рад/с, движется точка М с относительной скоростью vr = 0,2 м/с. Как изменится модуль ускорения Кориолиса точки М при переходе ее из А в B? |
По кольцу радиуса r = 0,5 м, вращающемуся в плоскости чертежа вокруг оси О c угловой скоростью ω = const, движется точка М со скоростью vr = const. Изменится ли модуль ускорения Кориолиса точки М при переходе ее из А в B ? |
| Точка М движется с постоянной скоростью v = 1 м/с от начала координат по стержню, вращающемуся в плоскости Оху с постоянной угловой скоростью ω = 2 рад/с. Определить модуль ускорения точки М, когда расстояние ОМ = 0,5 м. Ответ округлить до сотых. |
Кольцо радиуса r = 0,5 м вращается с постоянной угловой скоростью ω = 4 рад/с в плоскости чертежа. По кольцу перемещается точка М с постоянной скоростью v = 2 м/с. Определить модуль абсолютного ускорения точки М в указанном положении. |
Точка М движется с относительной скоростью vr = 0,5 t по хорде диска, вращающегося вокруг оси О, перпендикулярной плоскости диска, с угловой скоростью ω = 0,5 рад/с. Определить абсолютное ускорение точки М в момент времени t = 2 с, если расстояние ОМ = 0,02 м. Ответ округлить до сотых. |
Точка М движется с постоянной скоростью v = 2 м/с по кольцу радиуса r = 0,5 м, который вращается с постоянной угловой скоростью ω = 4 рад/с. Определить модуль абсолютного ускорения точки М в указанном положении. |
Катушка вращается вокруг оси ОО1 с угловой скоростью ω = 2 рад/с. Вдоль катушки перемещается точка М по закону МоМ = 0,04t2. Определить абсолютное ускорение точки М, если радиус r = 0,02 м. Ответ округлить до тысячных. |
По стороне треугольника, вращающегося вокруг, стороны АВ с угловой скоростью ω, движется точка М с относительной скоростью vr = 3 t2. Определить модуль относительного ускорения точки М в момент времени t = 2 с. |
По стороне треугольника, вращающегося вокруг стороны АВ с угловой скоростью ω, движется точка М с относительной скоростью vr = 2 sin 4t. Определить относительное ускорение точки М в момент времени t = π/8 с. |
По диаметру диска, вращающегося вокруг оси Оz, движется точка М с относительной скоростью vr = 4t3. Определить модуль относительного ускорения точки М в момент времени t = 1 с. |
Стержень 1 кулисного механизма движется с постоянным ускорением а1 = 2 м/с2. Определить угловое ускорение кулисы 2 в данном положении механизма, если угол φ = 90° и расстояние l = 0,5 м. |
По стороне треугольника, вращающегося вокруг стороны АВ с постоянной угловой скоростью ω = 4 рад/с, движется точка М с относительной скоростью vr. В момент времени, когда расстояние МВ = 0,5 м, определить модуль переносного ускорения точки М, если угол α = 30°. |
| Тело одновременно участвует в двух поступательных движениях со скоростями v1 = 5 i + 2j и v2 = - 2 i + 3j. Определить модуль абсолютной скорости тела. Ответ округлить до сотых. |
Тело одновременно участвует в трех поступательных движениях со скоростями v1 = 4 i - 3 j + k, v2 = - 6 i + 5 j + 3 k, v3 = 2 i + 2 j - k. Определить модуль абсолютной скорости тела. |
Автомобиль двигается со скоростью v1 = 3,6 км/ч, а монтажная вышка поднимается со скоростью v2 = 0,5 м/с. Определить абсолютную скорость рабочего, который стоит на вышке неподвижно. Ответ округлить до сотых. |
Автомобиль двигается со скоростью v1 = 0,6 км/ч, а монтажная вышка поднимается со скоростью v2 = 0,8 м/с. Определить абсолютную скорость рабочего, который стоит на вышке неподвижно. |
Подъем груза 1 осуществляется со скоростью v1 = 0,4 м/с. Тележка 2 козлового крана движется со скоростью v2 = 0,3 м/с, а скорость крана v3 = 0,2 м/с. Определить абсолютную скорость груза 1. Ответ округлить до тысячных. |
Тела 1, 2, 3 находятся в поступательном прямолинейном движении. Тело 1 движется со скоростью v1 = 3 м/с, тела 2 и 3 — согласно законам s2 = 2 t2 , s3 = 3 t2 . Определить абсолютную скорость тела 3 в момент времени t = 1 с. |
Спаренные колеса движутся со скоростью v = 36 км/ч. Определить абсолютную скорость коромысла А1А2 в момент времени, когда отрезки O1А1 = O2А2 = 0,2 м вертикальны. Радиус R = 0,25 м. |
Тело 1 с помощью стержней АС = ВD = 3 м шарнирно присоединено к телу 2. Определить абсолютную скорость тела 1 в момент времени, когда тело 2 движется со скоростью v2 = 10 м/с, угол φ = 45φ и угловая скорость стержней ω = 1,5 рад/с. Ответ округлить до десятых. |
Определить модуль скорости поступательного движения звена 3 в указанном положении механизма, если звенья 1 и 2 длиной 0,5 м вращаются с абсолютными угловыми скоростями ω1 = ω2 = 2 рад/с. Фигуры ОАВО1 и АСDВ являются параллелограммами. |
Кузов вагона совершает одновременно два поступательных движения: в продольном направлении движется с постоянным ускорением а = 1 м/с2 , а в вертикальном – колеблется согласно закону у = 1 + 0,02 sin 2πt. Определить модуль максимального абсолютного ускорения вагона. Ответ округлить до сотых. |
| Тело одновременно участвует в двух вращательных движениях с угловыми скоростями ω1 = 2 i + 5 j и ω2 = 4 i + 3 j. Определить модуль абсолютной угловой скорости тела. |
На изогнутой оси 1, которая вращается в шарнире А с угловой скоростью ω1 = 6 рад/с, свободно вращается коническое зубчатое колесо 2. Последнее находится в зацеплении с неподвижным зубчатым колесом 3. Определить модуль абсолютной угловой скорости колеса 2. Ответ округлить до десятых. |
Диск 1 вращается в держателе 2 с частотой вращения 300 об/мин. Угловая скорость вращения держателя в подшипнике 3 равна ω2 = 10 рад/с. Определить модуль абсолютной угловой скорости диска. Ответ округлить до целых. |
Основание 1 подъемного крана поворачивается согласно уравнению φ = 0,2t. Угловая скорость подъема стрелы 2 равна d ω/d t = 0,3 рад/с. Определить модуль абсолютной угловой скорости стрелы. Ответ округлить до тысячных. |
|
Сферическая оболочка радиуса r = 0,5 м участвует одновременно в двух вращательных движениях с угловыми скоростями ω1 = 3 рад/с и ω2 = 4 рад/с. Определить модуль скорости точки М оболочки в изображённом положении. Ответ округлить до десятых. |
Диск радиуса r = 0,5 м участвует одновременно в двух вращательных движениях с угловыми скоростями ω1 = ω2 = 2 рад/с. Определить модуль скорости той точки диска, для которой этот модуль имеет максимальное значение. Ответ округлить до сотых. |
Диск радиуса r = 0,6 м участвует одновременно в двух вращательных движениях с угловыми скоростями ω1 = 3 рад/с и ω2 = 4 рад/с. Определить модуль скорости той точки диска, для которой этот модуль имеет максимальное значение. |
Диск 1 вращается вокруг оси Ω, которая в свою очередь поворачивается вокруг вертикальной оси. Угловые сворости ω1 = 20 рад/с, ω2 = 10 рад/с. Определить модуль абсолютной угловой скорости диска 1. Ответ округлить до десятых. |
Диск 1 вращается на изогнутой оси 2 с угловой скоростью ω1 = 4 рад/с. Скорость вращения оси 2 в подшипнике 3 равна ω2 = 4 рад/с. Определить модуль абсолютной угловой скорости диска. |
Диск 1 вращается на изогнутой оси 2 с угловой скоростью ω1 = 6 рад/с. Скорость вращения оси 2 в подшипнике 3 равна ω2 = 6 рад/с. Определить модуль абсолютной угловой скорости диска. |
Пластинка участвует в двух вращательных движениях с угловыми скоростями ω1 = 2 рад/с и ω2 = 4 рад/с. Какой угол в градусах образует вектор абсолютной скорости с вектором ω2? |
| Тело одновременно находится в двух вращательных движениях вокруг параллельных осей Ω1 и Ω2 с угловыми скоростями ω1 = 2 рад/с и ω2 = 3 рад/с, векторы которых направлены в одну сторону. Определить модуль абсолютной угловой скорости движения тела. |
Колесо 1 одновременно находится в трех вращательных движениях вокруг параллельных осей Ω1, Ω2, Ω3 с угловыми скоростями ω1 = 5 рад/с, ω2 = 4 рад/с, ω3 = 3 рад/с. Определить модуль абсолютной угловой ско-
рости колеса. |
Колесо 1 одновременно находится в двух вращательных движениях вокруг осей Ω1 и Ω2 с угловыми скоростями ω1 = 4 рад/с и ω2 = 3 рад/с. Определить модуль абсолютной угловой скорости колеса. |
Вращение кривошипа ОА плоского механизма определяется уравнением φ = соs 2t. Колесо вращается относительно кривошипа с угловой скоростью ω = 3 рад/с. Определить модуль абсолютной угловой скорости колеса в момент времени t = 2 с. Ответ округлить до сотых. |
Платформа 1 совершает колебания по закону φ = 0,1 sin 10 πt. Якорь 2 двигателя вращается относительно статора с угловой скоростью ω = 7 рад/с. Определить максимальное значение абсолютной угловой скорости якоря. Ответ округлить до десятых. |
Углы плоского механизма изменяются согласно уравнениям φ = 0,2 t, γ = 0,1t2. Определить модуль абсолютной угловой скорости стержня АВ в момент времени t = 4 с. |
В плоском механизме диск вращается относительно стержня 2 с угловой скоростью ω3 = 2 рад/с, а стержень 2 относительно стержня 1 – с угловой скоростью ω2 = 4 рад/с. При какой угловой скорости ω1 стержня 1 абсолютное движение диска будет поступательным? |
Тело одновременно находится в двух вращательных движениях вокруг осей вращения Ω1 и Ω2 с угловыми скоростями ω1 = 4 рад/с, ω2 = 2 рад/с. Определить расстояние l1 в см между осью Ω1 и мгновенной осью Ω абсолютного вращения тела, если расстояние l = 50 см. |
Тело одновременно находится в двух вращательных движениях вокруг осей вращения Ω1 и Ω2 с угловыми скоростями ω1 = 4 рад/с, ω2 = 2 рад/с. Определить расстояние l1 в см между осью Ω1 и мгновенной осью Ω абсолютного вращения тела, если расстояние l = 35 см. |
Платформа 1, совершая колебательное движение, имеет угловую скорость ω1. Якорь 2 двигателя вращается относительно статора с угловой скоростью ω2 = ω1. Определить расстояние в см от мгновенной оси вращения якоря до точки О, если а = 40 см, b = 30 см. |
Стержень длиной l = 0,5 м вращается с угловой скоростью ω1 = 4 рад/с, а диск относительно стержня – с угловой скоростью ω2 = 2 рад/с. На каком расстоянии от мгновенной оси вращения диска находится точка О? Ответ округлить до тысячных. |
| Тело имеет скорость поступательного движения v = 7 м/с и угловую скорость ω. Определить модуль скорости поступательного движения кинематического винта, если угол между векторами v и ω равен 70°. Ответ округлить до сотых. |
Скорость вертолёта v = 12 м/с. Вектор угловой скорости ω его несущего винта образует с вектором v угол β = 80°. Сложное движение несущего винта приводится к кинематическому винту. Определить поступательную скорость кинематического винта. Ответ округлить до сотых. |
Векторы скорости полюса v0 и угловой скорости ω тела образуют угол 30°. Определить, на каком расстоянии от оси Ω0 находится оси кинематического винта, если v0 = 6 м/с, ω = 6 рад/с. Ответ округлить до десятых. |
Тело находится в сложном движении: Угловая скорость ω = 0,7рад/с, скорость полюса vA = 2 м/с. Определить расстояние от оси кинематического винта до плоскости Oxz. Ответ округлить до сотых. |
Тело находится в свободном движении: скорость полюса v0 = 5 i + 6 j + 7 k, вражательная скорость Ω = i - 2 j + 3 k. Определить модуль скорости поступательного движения кинематического винта тела. Ответ округлить до сотых. |
Тело участвует в двух вращательных движениях вокруг параллельных осей Ω1 и Ω2 с угловыми скоростями ω1 = 1 рад/с, ω2 = 3 рад/с. Определить модуль абсолютной скорости точки О тела. Ответ округлить до сотых. |
Квадратная пластина со стороной а = 0,5,м участвует одновременно в поступательном движении со скоростью v = 3 м/с и двух вращательных движениях с угловыми скоростями ω1 = ω2 = 4 рад/с. Определить модуль абсолютной поступательной скорости пластины. Ответ округлить до сотых. |
Скорость вертолета v = 12 м/с, а угловая скорость его несущего винта ω = 15 рад/с. Определить координату х точки пересечения мгновенной оси вращения винта с плоскостью Оху. Ответ округлить до десятых. |
Квадратная пластина со стороной а = 1 м участвует одновременно в поступательном движении со скоростью v = 4 м/с и двух вращательных движениях с угловыми скоростями ω1 = ω2 = 2 рад/с. Определить расстояние от точки О до мгновенной оси вращения пластины. |
Определить модуль абсолютной угловой скорости диска 3, если его угловая скорость относительно детали 2 ω3 = 0,5 рад/с, угловая скорость детали 2 относительно детали 1 равна ω2 = 0,2 рад/с, а угловая скорость детали 1 равна ω1 = 0,1 рад/с, причем ω2 || ω3 || Ох. Ответ округлить до тысячных.
|
По стороне треугольника, вращающегося вокруг стороны АВ с угловой скоростью ω = 8 рад/с, движется точка М с относительной скоростью vr = 4 м/с. Определить модуль ускорения Кориолиса точки М. |
|
Точка М движется с относительной скоростью vr = 0,5 t по хорде диска, вращающегося вокруг оси О, перпендикулярной плоскости диска, с угловой скоростью ω = 0,5 рад/с. Определить Кориолисово ускорение (м/с2) точки М в момент времени t = 2 с. Ответ округлить до целых.![]() |
По стороне треугольника, вращающегося вокруг стороны АВ с угловой скоростью ω, движется точка М с относительной скоростью vr = 3 t2. Определить модуль относительного ускорения (м/с2) точки М в момент времени t = 2 с. |
Трубка вращается вокруг оси ОО1 с угловой скоростью ω = 1,5 рад/с. Шарик М движется вдоль трубки по закону М0М = 4 t от оси вражения. Как направлен вектор ускорения Кориолиса, если трубка перпендикулярна оси вращения?
Выбери ответ
![]() |
![]() |
![]() |
![]() |
| По стороне треугольника, вращающегося вокруг стороны АВ с угловой скоростью ω = 8 рад/с, движется точка М с относительной скоростью vr = 4 м/с. Как будет направлен вектор ускорения Кориолиса? | ![]() |
![]() |
![]() |
![]() |
![]() |
Определить переносную скорость (м/c) точки М при её сложном движении в момент времени t = 2 c. Движение тела D задаётся уравнением x = t 3 + 4 t. Движение точки М, относительно движущегося тела D, задано уравнением s = 4 π t 2, R = 48 см (x – см, ОМ – см, s – см). Положительное значение координаты s = ОМ отсчитывается от точки О в сторону ближайшего, указанного на рисунке, положения точки М. Ответ округлить до сотых. |
Определить относительную скорость (м/c) точки М при её сложном движении в момент времени t = 2 c. Движение тела D задаётся уравнением x = t 3 + 4 t. Движение точки М, относительно движущегося тела D, задано уравнением s = 4 π t 2, R = 48 см (x – см, ОМ – см, s – см). Положительное значение координаты s = ОМ отсчитывается от точки О в сторону ближайшего, указанного на рисунке, положения точки М. Ответ округлить до десятых. |
Определить абсолютную скорость (м/c) точки М при её сложном движении в момент времени t = 2 c. Движение тела D задаётся уравнением x = t 3 + 4 t. Движение точки М, относительно движущегося тела D, задано уравнением s = 4 π t 2, R = 48 см (x – см, ОМ – см, s – см). Положительное значение координаты s = ОМ отсчитывается от точки О в сторону ближайшего, указанного на рисунке, положения точки М. Ответ округлить до сотых. |
Определить переносное ускорение (м/c 2) точки М при её сложном движении в момент времени t = 2 c. Движение тела D задаётся уравнением x = t 3 + 4 t. Движение точки М, относительно движущегося тела D, задано уравнением s = 4 π t 2, R = 48 см (x – см, ОМ – см, s – см). Положительное значение координаты s = ОМ отсчитывается от точки О в сторону ближайшего, указанного на рисунке, положения точки М. Ответ округлить до сотых. |
Определить относительное ускорение (м/c 2) точки М при её сложном движении в момент времени t = 2 c. Движение тела D задаётся уравнением x = t 3 + 4 t. Движение точки М, относительно движущегося тела D, задано уравнением s = 4 π t 2, R = 48 см (x – см, ОМ – см, s – см). Положительное значение координаты s = ОМ отсчитывается от точки О в сторону ближайшего, указанного на рисунке, положения точки М. Ответ округлить до сотых. |
Определить абсолютное ускорение (м/c 2) точки М при её сложном движении в момент времени t = 2 c. Движение тела D задаётся уравнением x = t 3 + 4 t. Движение точки М, относительно движущегося тела D, задано уравнением s = 4 π t 2, R = 48 см (x – см, ОМ – см, s – см). Положительное значение координаты s = ОМ отсчитывается от точки О в сторону ближайшего, указанного на рисунке, положения точки М. Ответ округлить до десятых. |
Определить относительную скорость (м/c) точки М при её сложном движении в момент времени t = 2/3 c. Движение тела D задаётся уравнением φ = 2 t 3 − t2. Движение точки М, относительно движущегося тела D, задано уравнением s = 18 sin ( π t/4 ), a = 25 см (φ – рад, ОМ – см, s – см). Положительное значение координаты s = ОМ отсчитывается от точки О в сторону ближайшего, указанного на рисунке, положения точки М. Ответ округлить до сотых. |
Определить переносную скорость (м/c) точки М при её сложном движении в момент времени t = 2/3 c. Движение тела D задаётся уравнением φ = 2 t 3 − t2. Движение точки М, относительно движущегося тела D, задано уравнением s = 18 sin ( π t/4 ), a = 25 см (φ – рад, ОМ – см, s – см). Положительное значение координаты s = ОМ отсчитывается от точки О в сторону ближайшего, указанного на рисунке, положения точки М. Ответ округлить до десятых. |
Определить относительное ускорение (см/c2) точки М при её сложном движении в момент времени t = 2/3 c. Движение тела D задаётся уравнением φ = 2 t 3 − t2. Движение точки М, относительно движущегося тела D, задано уравнением s = 18 sin ( π t/4 ), a = 25 см (φ – рад, ОМ – см, s – см). Положительное значение координаты s = ОМ отсчитывается от точки О в сторону ближайшего, указанного на рисунке, положения точки М. Ответ округлить до десятых. |
Определить переносное ускорение (м/c2) точки М при её сложном движении в момент времени t = 2/3 c. Движение тела D задаётся уравнением φ = 2 t 3 − t2. Движение точки М, относительно движущегося тела D, задано уравнением s = 18 sin ( π t/4 ), a = 25 см (φ – рад, ОМ – см, s – см). Положительное значение координаты s = ОМ отсчитывается от точки О в сторону ближайшего, указанного на рисунке, положения точки М. Ответ округлить до десятых. |
Определить ускорение кориолиса (м/c2) точки М при её сложном движении в момент времени t = 2/3 c. Движение тела D задаётся уравнением φ = 2 t 3 − t2. Движение точки М, относительно движущегося тела D, задано уравнением s = 18 sin ( π t/4 ), a = 25 см (φ – рад, ОМ – см, s – см). Положительное значение координаты s = ОМ отсчитывается от точки О в сторону ближайшего, указанного на рисунке, положения точки М. Ответ округлить до десятых. |
Платформа 1 движется по горизонтали равномерно со скоростью v = 1 м/с. Тело 2 относительно платформы движется по закону s = 0,5 t. Найти закон движения тела 2, если при t = 0 xA = 0. Ответ округлить до десятых.
Тело 1 движется по наклонной плоскости равномерно со скоростью v = 2 м/с. Точка М относительно тела 1 движется согласно уравнению АМ = 0,5 t. Определить координату хM точки М в момент времени t = 2 с, если при t = 0 координата хM = 0, углы α = β = 30°. Ответ округлить до сотых.
Тело 1 движется по горизонтали равномерно со скоростью v1 = 2 м/с. Тело 2 относительно тела 1 движется также равномерно со скоростью v2 = 4 м/с. Пренебрегая размерами тела 2, найти его координату х2 в момент времени t = 0,5 с, если при t = 0 координата x = 0.
Тело 1 движется по наклонной плоскости равномерно со скоростью v = 2 м/с. Точка М относительно тела 1 движется согласно уравнению O1M = 0,5t. Определить координату точки М в момент времени t = 1 с, если при t = 0 хM = 0, α = β = 30°. Ответ округлить до сотых.
В трубке, вращающейся по закону φ = 4t вокруг оси Оz, движется шарик по закону ОА = 5t2. Определить координату хА шарика в момент времени t = 0,25 с. Ответ округлить до тысячных.
По стержню, вращающемуся по закону φ = 2t вокруг оси Оz, движется ползун А по закону ОА = 3t3. Пренебрегая размерами ползуна, определить его координату уА в момент времени t = 0,5 с. Ответ округлить до тысячных.
Точка М движется по диску радиуса R = 0,5 м согласно уравнению АМ = 2t2. Диск вращается с постоянной угловой скоростью ω = 2 рад/с. Определить дуговую координату s точки М в момент времени t = 0,5 с, если в начальный момент точка находилась на оси Ох.
Точка М движется по диску радиуса R = 0,5 м согласно уравнению АМ = 2 t2. Диск вращается с постоянной угловой скоростью ω = 4 рад/с. Определить дуговую координату s точки М в момент времени t = 1 с, если в начальный момент точка находилась на оси Ох.
Определить абсолютную скорость в момент времени t = 2 с точки М, которая движется по диагонали прямоугольной пластины 1 по закону М0М= 0,3t2. Сама пластина движется вертикально в плоскости рисунка согласно уравнению s = 1 + 0,5 sin(π/2)t. Угол α = 45°. Ответ округлить до тысячных.
Тележка 1 движется по наклонной плоскости по закону хе = 0,5t2. Внутри тележки движется ползун 2 по закону у1 = 1 + 0,05 sin 0,25 πt. Определить абсолютную скорость точки М ползуна 2 в момент времени t = 0,1 с. Ответ округлить до тысячных.
Кривошип OA вращается по закону φ = πt/3. Заданы длины стержней ОА = АВ = 0,25 м. Относительное движение точки М по ползуну 1 задано уравнением x1 = 0,3 + 0,1 sin(πt/6). Определить модуль абсолютной скорости точки М в момент времени t = 1 с. Ответ округлить до сотых.
Определить абсолютную скорость точки М в момент времени t = 1 с, если ее движение по квадратной пластине 1 задано уравнением ВМ = 0,1t2. Кривошипы АВ = СD = 0,5 м вращаются по закону φ = 0,25 πt. Ответ округлить до тысячных.
Кривошип ОА = 0,2 м вращается вокруг оси О с угловой скоростью ω = 20 рад/с и приводит в движение кулису 1, движущуюся поступательно. Найти скорость кулисы при угле α = 30°.
По грани призмы, движущейся со скоростью
Тело 1 движется по закону х = sin πt. Тело 2 движется относительно тела 1 по закону y = sin (π + πt). Найти абсолютную скорость тела 2 при t = 1 с. Ответ округлить до сотых.
По шатуну 2 шарнирного параллелограмма ОАBС скользит втулка 3. К точке D втулки
шарнирно прикреплен стержень 4. Для данного положения механизма определить скорость стержня 4, если скорость точки А кривошипа 1 равна 2 м/с.
На шатун 1 кривошипно-ползунного механизма надета втулка 2. К точке С втулки шарнирно прикреплен стержень 3. Для данного положения механизма определить скорость стержня 3, если длина ОА = 0,5 АВ и скорость точки А кривошипа 4 равна vА = 3 м/с. Ответ округлить до сотых.
Точка М движется по ободу диска, радиус которого К = 0,8 м, со скоростью vr =
= 0,4 м/с. Определить абсолютную скорость точки М в указанном положении, если закон вращения диска φ = t.
Точка М движется по ободу диска, радиус которого R = 0,1 м, согласно уравнению ОМ = 0,3 t. Определить абсолютную скорость точки М в указанном положении, если закон вращения диска φ = 0,4t. Ответ округлить до тысячных.
Диск радиуса R = 0,04 м вращается вокруг точки О в плоскости чертежа с угловой скоростью ω = 0,5t. По ободу диска движется точка М с постоянной относительной скоростью vr = 0,3 м/с. Определить абсолютную скорость точки М в момент времени t = 2 с, если угол α = 60°. Ответ округлить до тысячных.
Кольцо вращается вокруг оси О, перпендикулярной плоскости чертежа, с постоянной угловой скоростью ω = 4 рад/с. Находящийся в кольце шарик М движется по закону М0М = 0,2 t. Определить абсолютную скорость шарика в указанном на чертеже положении, если радиус R = 0,1 м.
Квадратная плита вращается вокруг оси ОО1 с угловой скоростью ω = 3 рад/с. Вдоль стороны плиты движется точка М с постоянной скоростью vr = 4 м/с. Определить абсолютную скорость точки М в указанном на рисунке положении, если стороны квадрата равны 6 м. Ответ округлить до десятых.
В трубке, имеющей форму полуокружности, движется шарик М с постоянной скоростью vr = 3 м/с. Определить модуль абсолютной скорости шарика в положении М1, если трубка вращается с угловой скоростью ω = 3 рад/с, а радиус R = 1 м. Ответ округлить до сотых.
Конус вращается вокруг оси Оz с угловой скоростью ω = 3 рад/с. По его образующей с постоянной скоростью vr = 4 м/с движется точка М в направлении от A к B. Определить модуль абсолютной скорости этой точки в положении, когда расстояние АМ = 2 м, если угол α = 30°.
Диск вращается вокруг оси Оz. По его ободу движется точка М с постоянной относительной скоростью vz = 9 м/с. Определить переносную скорость точки М в момент, когда ее абсолютная скорость равна 15 м/с.
Диск вращается вокруг оси Оz по закону φ = 4 sin 3t. По его ободу движется точка М согласно уравнению АМ = 0,66 sin 6t + 4. Определить абсолютную скорость точки М в момент времени t = 0,35 с, если радиус R = 1 м. Ответ округлить до сотых.
Конус, по образующей которого движется точка М согласно уравнению АМ = 2t, α = 30°, вращается вокруг оси Оz по закону φ = 4 sin 0,4t. Определить модуль переносной скорости точки М в момент времени t = 2 с. Ответ округлить до сотых.
Пластина АВСD вращается вокруг оси Оz с угловой скоростью ω = 4t. По ее стороне ВС в направлении от В к С движется точка М с постоянной скоростью 9 м/с. Определить модуль абсолютной скорости точки М в момент времени t = 3 с, если длина АВ = 1 м.
Кривошип 1 длиной ОА = 0,8 м вращается с угловой скоростью ω1 = 5 рад/с вокруг оси О. В положении, указанном на рисунке, определить скорость ползуна 2 относительно кулисы 3.
Тело 1, имеющее форму полуцилиндра, скользит по горизонтальной плоскости со скоростью v = 0,2 м/с, поворачивая шарнирно закрепленный в точке А стержень АВ. Определить относительную скорость точки касания М, если угол α = 30°. Ответ округлить до тысячных.
Стержень 2 кулисного механизма движется со скоростью v = 1 м/с. Для указанного положения механизма определить угловую скорость кулисы 1, если расстояние ОА = 1 м. Ответ округлить до тысячных.
Стержень 1 кулисного механизма движется вверх со скоростью v1 = 2 м/с. Для заданного положения механизма определить угловую скорость кулисы 2, если расстояние l = 40 см. Ответ округлить до сотых.
Пластина приводится в движение двумя кривошипами АO1 = ВO2 = 1 м, вращающимися с постоянной угловой скоростью ω = 2π. По пластине движется точка М согласно уравнениям x1 = 0,2t3 и y1 = 0,3t2. Определить абсолютное ускорение точки М в момент времени t = 1 с, если угол φ = 30°. Ответ округлить до десятых.
Пластина 1 совершает колебания со скоростью vе = (π/2) sin (π/4)t. По пластине движется точка М согласно уравнениям x1 = 0,2t2 и у1 = 0,3 t. Определить абсолютное ускорение точки М через 3 с после начала движения. Ответ округлить до тысячных.
Кабина лифта поднимается с постоянным ускорением ае = 5 м/с2. Внутри кабины в плоскости чертежа движется точка М по закону x1 = 0,5t2 и у1 = 0,3t2. Определить абсолютное ускорение точки М. Ответ округлить до сотых.
Тележка движется по наклонной плоскости с ускорением ае = 2 м/с2. По тележке в плоскости чертежа движется точка М согласно уравнениям x1 = 3t2 и у1 = 4t2. Определить абсолютное ускорение точки. Ответ округлить до десятых.
Тележка движется со скоростью vе = sin(π/3)t. Стержень О1М длиной 1 м, закрепленный в центре тележки, движется по закону φ = 0,5 πt. Определить абсолютное ускорение конца стержня (точки М) в момент времени t = 0,5 с. Ответ округлить до сотых.
Тело 1 движется в вертикальной цилиндрической трубе 2 по закону se = 1 + 0,3 sin(π/3)t. Шарик М движется по каналу внутри тела 1 по закону МoМ = 0,1 е3. Определить абсолютное ускорение шарика в момент времени t = 0,5 с, если известен угол α = 45°. Ответ округлить до тысячных.
Тележка движется по закону sе = 0,5 t3. По тележке в плоскости чертежа движется точка М согласно уравнениям х1 = 0,3 t и у1 = 0,1t 2. Определить абсолютное ускорение точки М в момент времени t = 1 с. Ответ округлить до сотых.
Точка М маятника движется по окружности радиуса r = 0,1 м согласно уравнению s = 0,01 sin10 t в лифте, опускающемся с постоянным ускорением а = 0,1 м/с2. Определить модуль абсолютного ускорения точки М в момент времени, когда координата s = 0.
По стержню АВ шарнирного параллелограмма ОАВО1 движется точка М с ускорением а = 0,4 м/с2. Определить модуль абсолютного ускорения точки М в момент времени, когда угол φ = 0,5π, угловая скорость стержня ОА длиной 0,1 м равна ω = 4 рад/с, а угловое ускорение ε = 0,4 рад/с2. Ответ округлить до сотых.
Звено О1А вращается согласно уравнению φ = 2t. По ободу диска радиуса r = 0,5 м движется точка М по закону s = 2r t. Определить модуль абсолютного ускорения точки М в момент времени t = 0,25π.
По стержню АВ шарнирного параллелограмма ОАВО1 движется точка М с ускорением а = соs t. Стержень ОА длиной 2 м вращается согласно уравнению φ = t. Определить модуль абсолютного ускорения точки М в момент времени t = π.
Ползун 1 движется по горизонтальным направляющим с постоянным ускорением a1 = 4 м/с2. Точка 2 перемещается по отношению к ползуну с ускорением а2 = 3 м/с2. Определить абсолютное ускорение точки. Ответ округлить до сотых.
По горизонтальной плоскости движется кулачок 1 с ускорением а1 = 0,6 м/с2. Определить ускорение толкателя 2, если угол α = 30°. Ответ округлить до тысячных.
По стороне треугольника, вращающегося вокруг стороны АВ с угловой скоростью ω = 4 рад /с, движется точка М с относительной скоростью vr = 2 м/с. Определить модуль ускорения Кориолиса точки М, если угол α = 30°.
По стороне треугольника, вращающегося вокруг стороны АВ с угловой скоростью ω = 8 рад/с, движется точка М с относительной скоростью vr = 4 м/с. Определить модуль ускорения Кориолиса точки М.
По диаметру диска, вращающегося вокруг вертикальной оси с угловой скоростью ω = 2t, движется точка М с относительной скоростью vr =4t. Определить модуль ускорения Кориолиса точки М в момент времени t = 2 с.
По ободу полукруга, вращающегося вокруг диаметра с угловой скоростью ω = 4 рад/с, движется точка М с относительной скоростью
Трубка вращается вокруг оси ОО1 с угловой скоростью ω = 1,5 рад/с. Шарик М движется вдоль трубки по закону М0М = 4t. Найти модуль ускорения Кориолиса шарика.
Пластина АВС вращается вокруг оси Оz по закону φ = 5t 2 , а по ее стороне АС движется точка М согласно уравнению АМ = 4t3. Определить ускорение Кориолиса точки М в момент времени t = 0,5 с.
Диск вращается вокруг оси Оz по закону φ = 4 sin 0,25πt. По ободу диска движется точка М согласно уравнению АМ = 0,25 πR t2. Определить ускорение Кориолиса точки М в момент времени t = 1 с, если радиус R = 0,4 м. Ответ округлить до сотых.
Диск-эксцентрик вращается равноускоренно из состояния покоя с угловым ускорением ε = 3 рад/с2 вокруг оси Оz. По его ободу равномерно движется точка М со скоростью 0,1 м/с. Определить ускорение Кориолиса точки М в момент времени t = 3 с. Ответ округлить до десятых.
Диск вращается вокруг оси Оz по закону φ = 1,28 sin πt. По его ободу движется точка М согласно уравнению АМ = 15 t2. Определить ускорение Кориолиса точки М в момент времени t = 1/3 с, если оси Ох и Оу расположены в плоскости диска. Ответ округлить до десятых.
По стороне АВ прямоугольной пластины, вращающейся в плоскости чертежа, движется точка М по закону АМ = 3 sin (π/3)t. Определить угловую скорость пластины ωе в момент времени t = 2 с, если ускорение Кориолиса в точке М в этот момент равно 4 π м/с2.
Диск вращается равноускоренно вокруг оси Оz с угловым ускорением ε = 2 рад/с2. С какой скоростью по ободу этого диска должна равномерно двигаться точка М, чтобы в момент времени t = 1 с ускорение Кориолиса этой точки было равно 20 м/с2, если начальная угловая скорость диска равна 3 рад/с. (2)
Диск-эксцентрик равномерно вращается в плоскости чертежа. По его ободу движется точка М по закону АМ = 1,5t2. Чему должна равняться угловая скорость диска ω, для того чтобы ускорение Кориолиса точки М в момент времени t = 1 с было равно 24 м/с2?
По ободу диска, вращающегося в плоскости чертежа с угловой скоростью ω = 2 рад/с, движется точка М с относительной скоростью vr = 0,2 м/с. Как изменится модуль ускорения Кориолиса точки М при переходе ее из А в B?
По кольцу радиуса r = 0,5 м, вращающемуся в плоскости чертежа вокруг оси О c угловой скоростью ω = const, движется точка М со скоростью vr = const. Изменится ли модуль ускорения Кориолиса точки М при переходе ее из А в B ?
Кольцо радиуса r = 0,5 м вращается с постоянной угловой скоростью ω = 4 рад/с в плоскости чертежа. По кольцу перемещается точка М с постоянной скоростью v = 2 м/с. Определить модуль абсолютного ускорения точки М в указанном положении.
Точка М движется с относительной скоростью vr = 0,5 t по хорде диска, вращающегося вокруг оси О, перпендикулярной плоскости диска, с угловой скоростью ω = 0,5 рад/с. Определить абсолютное ускорение точки М в момент времени t = 2 с, если расстояние ОМ = 0,02 м. Ответ округлить до сотых.
Точка М движется с постоянной скоростью v = 2 м/с по кольцу радиуса r = 0,5 м, который вращается с постоянной угловой скоростью ω = 4 рад/с. Определить модуль абсолютного ускорения точки М в указанном положении.
Катушка вращается вокруг оси ОО1 с угловой скоростью ω = 2 рад/с. Вдоль катушки перемещается точка М по закону МоМ = 0,04t2. Определить абсолютное ускорение точки М, если радиус r = 0,02 м. Ответ округлить до тысячных.
По стороне треугольника, вращающегося вокруг стороны АВ с угловой скоростью ω, движется точка М с относительной скоростью vr = 2 sin 4t. Определить относительное ускорение точки М в момент времени t = π/8 с.
По диаметру диска, вращающегося вокруг оси Оz, движется точка М с относительной скоростью vr = 4t3. Определить модуль относительного ускорения точки М в момент времени t = 1 с.
Стержень 1 кулисного механизма движется с постоянным ускорением а1 = 2 м/с2. Определить угловое ускорение кулисы 2 в данном положении механизма, если угол φ = 90° и расстояние l = 0,5 м.
Тело одновременно участвует в трех поступательных движениях со скоростями
Автомобиль двигается со скоростью v1 = 3,6 км/ч, а монтажная вышка поднимается со скоростью v2 = 0,5 м/с. Определить абсолютную скорость рабочего, который стоит на вышке неподвижно. Ответ округлить до сотых.
Подъем груза 1 осуществляется со скоростью v1 = 0,4 м/с. Тележка 2 козлового крана движется со скоростью v2 = 0,3 м/с, а скорость крана v3 = 0,2 м/с. Определить абсолютную скорость груза 1. Ответ округлить до тысячных.
Тела 1, 2, 3 находятся в поступательном прямолинейном движении. Тело 1 движется со скоростью v1 = 3 м/с, тела 2 и 3 — согласно законам s2 = 2 t2 , s3 = 3 t2 . Определить абсолютную скорость тела 3 в момент времени t = 1 с.
Спаренные колеса движутся со скоростью v = 36 км/ч. Определить абсолютную скорость коромысла А1А2 в момент времени, когда отрезки O1А1 = O2А2 = 0,2 м вертикальны. Радиус R = 0,25 м.
Тело 1 с помощью стержней АС = ВD = 3 м шарнирно присоединено к телу 2. Определить абсолютную скорость тела 1 в момент времени, когда тело 2 движется со скоростью v2 = 10 м/с, угол φ = 45φ и угловая скорость стержней ω = 1,5 рад/с. Ответ округлить до десятых.
Определить модуль скорости поступательного движения звена 3 в указанном положении механизма, если звенья 1 и 2 длиной 0,5 м вращаются с абсолютными угловыми скоростями ω1 = ω2 = 2 рад/с. Фигуры ОАВО1 и АСDВ являются параллелограммами.
Кузов вагона совершает одновременно два поступательных движения: в продольном направлении движется с постоянным ускорением а = 1 м/с2 , а в вертикальном – колеблется согласно закону у = 1 + 0,02 sin 2πt. Определить модуль максимального абсолютного ускорения вагона. Ответ округлить до сотых.
На изогнутой оси 1, которая вращается в шарнире А с угловой скоростью ω1 = 6 рад/с, свободно вращается коническое зубчатое колесо 2. Последнее находится в зацеплении с неподвижным зубчатым колесом 3. Определить модуль абсолютной угловой скорости колеса 2. Ответ округлить до десятых.
Диск 1 вращается в держателе 2 с частотой вращения 300 об/мин. Угловая скорость вращения держателя в подшипнике 3 равна ω2 = 10 рад/с. Определить модуль абсолютной угловой скорости диска. Ответ округлить до целых.
Основание 1 подъемного крана поворачивается согласно уравнению φ = 0,2t. Угловая скорость подъема стрелы 2 равна d ω/d t = 0,3 рад/с. Определить модуль абсолютной угловой скорости стрелы. Ответ округлить до тысячных.
Вал 2 вращается с угловой скоростью ω 1 = 2 рад/с относительно корпуса 1. Определить косинус угла между вектором абсолютной угловой скорости вала и осью х, если корпус 1 вращается с угловой скоростью ω2 = 4 рад/с. Ответ округлить до тысячных.
Сферическая оболочка радиуса r = 0,5 м участвует одновременно в двух вращательных движениях с угловыми скоростями ω1 = 3 рад/с и ω2 = 4 рад/с. Определить модуль скорости точки М оболочки в изображённом положении. Ответ округлить до десятых.
Диск радиуса r = 0,5 м участвует одновременно в двух вращательных движениях с угловыми скоростями ω1 = ω2 = 2 рад/с. Определить модуль скорости той точки диска, для которой этот модуль имеет максимальное значение. Ответ округлить до сотых.
Диск 1 вращается вокруг оси Ω, которая в свою очередь поворачивается вокруг вертикальной оси. Угловые сворости ω1 = 20 рад/с, ω2 = 10 рад/с. Определить модуль абсолютной угловой скорости диска 1. Ответ округлить до десятых.
Диск 1 вращается на изогнутой оси 2 с угловой скоростью ω1 = 4 рад/с. Скорость вращения оси 2 в подшипнике 3 равна ω2 = 4 рад/с. Определить модуль абсолютной угловой скорости диска.
Пластинка участвует в двух вращательных движениях с угловыми скоростями ω1 = 2 рад/с и ω2 = 4 рад/с. Какой угол в градусах образует вектор абсолютной скорости с вектором
Колесо 1 одновременно находится в трех вращательных движениях вокруг параллельных осей Ω1, Ω2, Ω3 с угловыми скоростями ω1 = 5 рад/с, ω2 = 4 рад/с, ω3 = 3 рад/с. Определить модуль абсолютной угловой ско-
рости колеса.
Колесо 1 одновременно находится в двух вращательных движениях вокруг осей Ω1 и Ω2 с угловыми скоростями ω1 = 4 рад/с и ω2 = 3 рад/с. Определить модуль абсолютной угловой скорости колеса.
Вращение кривошипа ОА плоского механизма определяется уравнением φ = соs 2t. Колесо вращается относительно кривошипа с угловой скоростью ω = 3 рад/с. Определить модуль абсолютной угловой скорости колеса в момент времени t = 2 с. Ответ округлить до сотых.
Платформа 1 совершает колебания по закону φ = 0,1 sin 10 πt. Якорь 2 двигателя вращается относительно статора с угловой скоростью ω = 7 рад/с. Определить максимальное значение абсолютной угловой скорости якоря. Ответ округлить до десятых.
Углы плоского механизма изменяются согласно уравнениям φ = 0,2 t, γ = 0,1t2. Определить модуль абсолютной угловой скорости стержня АВ в момент времени t = 4 с.
В плоском механизме диск вращается относительно стержня 2 с угловой скоростью ω3 = 2 рад/с, а стержень 2 относительно стержня 1 – с угловой скоростью ω2 = 4 рад/с. При какой угловой скорости ω1 стержня 1 абсолютное движение диска будет поступательным?
Тело одновременно находится в двух вращательных движениях вокруг осей вращения Ω1 и Ω2 с угловыми скоростями ω1 = 4 рад/с, ω2 = 2 рад/с. Определить расстояние l1 в см между осью Ω1 и мгновенной осью Ω абсолютного вращения тела, если расстояние l = 50 см.
Платформа 1, совершая колебательное движение, имеет угловую скорость ω1. Якорь 2 двигателя вращается относительно статора с угловой скоростью ω2 = ω1. Определить расстояние в см от мгновенной оси вращения якоря до точки О, если а = 40 см, b = 30 см.
Стержень длиной l = 0,5 м вращается с угловой скоростью ω1 = 4 рад/с, а диск относительно стержня – с угловой скоростью ω2 = 2 рад/с. На каком расстоянии от мгновенной оси вращения диска находится точка О? Ответ округлить до тысячных.
Скорость вертолёта v = 12 м/с. Вектор угловой скорости
Векторы скорости полюса
Тело находится в сложном движении: Угловая скорость ω = 0,7рад/с, скорость полюса vA = 2 м/с. Определить расстояние от оси кинематического винта до плоскости Oxz. Ответ округлить до сотых.
Тело находится в свободном движении: скорость полюса
Тело участвует в двух вращательных движениях вокруг параллельных осей Ω1 и Ω2 с угловыми скоростями ω1 = 1 рад/с, ω2 = 3 рад/с. Определить модуль абсолютной скорости точки О тела. Ответ округлить до сотых.
Квадратная пластина со стороной а = 0,5,м участвует одновременно в поступательном движении со скоростью v = 3 м/с и двух вращательных движениях с угловыми скоростями ω1 = ω2 = 4 рад/с. Определить модуль абсолютной поступательной скорости пластины. Ответ округлить до сотых.
Скорость вертолета v = 12 м/с, а угловая скорость его несущего винта ω = 15 рад/с. Определить координату х точки пересечения мгновенной оси вращения винта с плоскостью Оху. Ответ округлить до десятых.
Квадратная пластина со стороной а = 1 м участвует одновременно в поступательном движении со скоростью v = 4 м/с и двух вращательных движениях с угловыми скоростями ω1 = ω2 = 2 рад/с. Определить расстояние от точки О до мгновенной оси вращения пластины.
Определить модуль абсолютной угловой скорости диска 3, если его угловая скорость относительно детали 2 ω3 = 0,5 рад/с, угловая скорость детали 2 относительно детали 1 равна ω2 = 0,2 рад/с, а угловая скорость детали 1 равна ω1 = 0,1 рад/с, причем










Определить переносную скорость (м/c) точки М при её сложном движении в момент времени t = 2 c. Движение тела D задаётся уравнением x = t 3 + 4 t. Движение точки М, относительно движущегося тела D, задано уравнением s = 4 π t 2, R = 48 см (x – см, ОМ – см, s – см). Положительное значение координаты s = ОМ отсчитывается от точки О в сторону ближайшего, указанного на рисунке, положения точки М. Ответ округлить до сотых.
Определить относительную скорость (м/c) точки М при её сложном движении в момент времени t = 2/3 c. Движение тела D задаётся уравнением φ = 2 t 3 − t2. Движение точки М, относительно движущегося тела D, задано уравнением s = 18 sin ( π t/4 ), a = 25 см (φ – рад, ОМ – см, s – см). Положительное значение координаты s = ОМ отсчитывается от точки О в сторону ближайшего, указанного на рисунке, положения точки М. Ответ округлить до сотых.