| Количество вопросов Время тестирования | |
| Выход из режима тестирования |
Периметр сектора равен 28 см, а его площадь 49 см2. Определить радиус.
Вычислить площадь восьмиугольника, описанного около окружности радиуса, равного 15,0 см.
Около правильного треугольника, сторона которого равна а, описана окружность, и в тот же треугольник вписана окружность. Найти площадь кольца, заключённого между этими окружностями.
Условимся обозначать в прямоугольном треутольнике букиами a и b катеты; с гипотенузу; h – высоту, опушенную из вершины прямого угла; p проекцию катета а и q – катета b на гипотенузу.Принимая вo внимание обозначения, найти по двум данным влементам b = 17, h = 15 прямоугольного треугольника осталъные его элементы.
Условимся обозначать в прямоугольном треутольнике букиами a и b катеты; с гипотенузу; h – высоту, опушенную из вершины прямого угла; p проекцию катета а и q – катета b на гипотенузу.Принимая вo внимание обозначения, найти по двум данным влементам с = 122, p = 50 прямоугольного треугольника осталъные его элементы.
Условимся обозначать в прямоугольном треутольнике букиами a и b катеты; с гипотенузу; h – высоту, опушенную из вершины прямого угла; p проекцию катета а и q – катета b на гипотенузу.Принимая вo внимание обозначения, найти по двум данным влементам p = 1, q = 9 прямоугольного треугольника осталъные его элементы.
Условимся обозначать в прямоугольном треутольнике букиами a и b катеты; с гипотенузу; h – высоту, опушенную из вершины прямого угла; p проекцию катета а и q – катета b на гипотенузу.Принимая вo внимание обозначения, найти по двум данным влементам c = 20, h = 8 прямоугольного треугольника осталъные его элементы.
Условимся обозначать в прямоугольном треутольнике букиами a и b катеты; с гипотенузу; h – высоту, опушенную из вершины прямого угла; p проекцию катета а и q – катета b на гипотенузу.Принимая вo внимание обозначения, найти по двум данным влементам а = 3, p = 1,8 прямоугольного треугольника осталъные его элементы.
Условимся обозначать в прямоугольном треутольнике букиами a и b катеты; с гипотенузу; h – высоту, опушенную из вершины прямого угла; p проекцию катета а и q – катета b на гипотенузу.Принимая вo внимание обозначения, найти по двум данным влементам h = 18, q = 12 прямоугольного треугольника осталъные его элементы.
Высота h прямоугольного треугольника делит гипотенузу на отрезки, равные 5 см и 7,2 см. Найти h, а и b (с точностью до 0,1 см).
Катет прямоугольного треугольника равен 35 см. Сумма гипотенузы и другого катета равна 49 см. Найти гипотенузу и другой катет.
Гипотенуза прямоугольного треугольника 125 мм. Высота h = 33,9 мм. Найти отрезки гипотенузы (с точностью до 0,5 мм).
Гипотенуза прямоугольного треугольника 36 см. Отношение катетов равно 3 : 4. Найти катеты.
В окружность, радиус которой 17 см, вписан прямоугольник. Найти стороны этого прямоугольника, если отношение их равно 15 : 8.
Гипотенуза прямоугольного треугольника равна 425 мм н один из катетои 340 мм. Найги отрезок гипотенузы, заключенный между точками пересечения с ней высоты h и биссектрисы прямого угла (с точностью до 0,1 мм).
Укажите правильный ответ
Укажите правильный ответ
В прямоугольном треугольнике высота h делит гипотенузу на отрезки, разность длины которых равна 3 см. Найти эти отрезки, если высота h = 2 см.
В прямоугольной трапеции разность оснований равна 30 см. Наклонная боковая сторона трапеции равна 50 см и большая диагональ – 60 см. Найти основания трапеции (с точностью до 0,1 см).
Bыcoтa равнобедренного треугольника равна 14 дм; основание относится к боковой стороне, как 48 : 25. Найти стороны этого треугольника.
На чертеже дана схема фермы и указаны в метрах размеры некоторых её частей. Найти размеры остальных частей (с гочностыо до 0,01 м).

На чертеже дана схема железкой фермы и указаны в метрах раэмеры некоторых её частей. Сколько погонных метров железа пойдёт на устройство этой фермы (с точностью до 0,6 м)?
Указание. На чертеже пунктирная прямая — вспомогательная линия.

Указание. На чертеже пунктирная прямая — вспомогательная линия.

В окружность, радиус которой 13 см, вписан прямоугольник. Найти стороны прямоугольника, если периметр его равен 68 см.
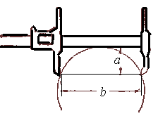
Чтобы измерить диаметр трансмиссионного шкива штангенциркулем, поступили, как показано на рисунке. Длина ножек циркуля равна а мм, расстояние между концами ножек b мм. Найти длину d диаметра шкива при а = 25 мм и b = 218 мм (с точностью до 1 мм).


В окружность, радиус которой 10 см, вписан прямоугольный треугольник, один из катетов которого вдвое ближе к центру, чем другом. Найти, с точностью до 1 мм, катеты.
Равнобедренный треугольник с основанием в 6 дм описан около окружности, радиус которой равен 2 дм. Найти боковую сторону тpeyгольника.
Около равнобедренной трапеции, основания которой 32 см и 24 см, а высота 28 см, описана окружность. Найти радиус этой окружности.
Центр вписанной в равнобедренный треугольник окружности делит его высоту, начиная от вершины, в отношении 17 : 16. Основание треугольника равно 1 м 20 см.
Найти диаметр окружности.
Стороны треугольника, образующие угол и 120°, соответственно равны 30 см и 50 см. Найти третью сторону.
Стороны треугольника, образующие угол в 60°, соответственно равны 25 см и 40 см. Найти третью сторону.
Стороны треугольника, образующие угол в 45°, соответственно равны 21 см и
см. Найти третью сторону.
см. Найти третью сторону.Стороны треугольника относятся, как: 1) 4 : 13 : 15, 2)13 : 14 : 15, 3) 7 : 24 : 25, 4) 13 : 30 : 37, 5) 9 : 40 : 41, 6) 17 : 40 : 41. Найти, какие из этих треугольников остроугольные, прямоугольные и тупоугольные.
Стороны треугольника 46 см, 42 см и 39 см. Найти высоту, опущенную на сторону, длина которой 42 см.
На рисунке дана схема крана, стойка которого с = 3,5 м, плечо b = 4 м. Наибольший угол между стойкой и плечом 120°. Определить длину а тяги.


Найти третью сторону треугольника, если две другие, образующие угол в 60° равны 12,5 см и 20 см.
Основания гранении равны 7 дм и 2 дм, а боковые стороны – 6 дм и 5 дм. Найти высоту трапеции.
Диагонали параллелограмма равны 24 см и 28 см, а разность сторон равна 8 см. Найти стороны параллелограмма.
Стороны параллелограмма 7 см и 11 см. Найти диагонали, если одна из них больше другой на 2 см.
Диагонали параллелограмма соответственно равны l1 = 17 см и l2 = 19 см, а одна сторона равна а = 10 см. Найти другую сторону.
В окружности проведены две пересекающиеся хорды. Одна на них делится в точке пересечения на части 8 см и 2 см, а другая пополам. Найти длину второй хорды.
В окружности проведены две пересекающиеся хорды. Длина одной ни них 11 см; другая делится в точке пересечения на части 4 см и 6 см. На какие части делится
первая хорда?
Перпендикуляр, опущенный из точки окружности на диаметр, делит его на отрезки, разность которых 18 см. Длина перпендикуляра равна 12 см. Найти диаметр.
Из точки вне окружности проведены к ней две секущие, длина которых 360 мм и 300 мм; внешняя часть второй секущей 192 мм. Найти внешнюю часть первой секущей.
Из точки вне окружности проведены наибольшая секущая и касательная. Найти длину касательной, если длина секущей 5 дм и радиус окружности 2,1 дм.
К окружности, радиус которой ранен 5 см, из точки, отстоящей от центра на 13 см, проведена секущая, которая делится окружностью пополам. Найти длину этой секущей (с точностью до 0,1 см).
- Выбери ответ
- ≈ 21,0 см.
- ≈ 20,0 см.
- ≈ 19,0 см.
- ≈ 18,0 см.
- ≈ 17,0 см.
Из точки мне окружности проведены секущая и касательная. Секущая в точке пересечения с окружностью делится на два отрезка: внутренний, равный 6 дм, и внешний, равный 2 дм. Найти длину касательной.
В каменном своде (см. рисунок) высота h сегмента равна 0,3 м. Длина АВ пролёта равна 3 м. Найти радиус дуги сегмента.


Из точки вне окружности проведены секущая и касательная. Секущая длиннее своего внешнего отрезка в
раза. Найти отношение внешнего отрезка секущей к касательной.
раза. Найти отношение внешнего отрезка секущей к касательной.В окружность, радиус которой 1 дм, вписан правильный шестиугольник. На сколько миллиметров длина окружности больше периметра шестиугольника?
Дана окружность, радиус которой 20 см. Найти с точностью до 1 мм стороны правильных описанных около этой окружности: треугольника, квадрата и шестиугольника.
Найти с точностью до 1 см радиусы окружностей, из которые одна вписана в квадрат, а другая описана около него, если сторона квадрата равна 50 см.
Найти сторону равностороннего треугольника (с точностью до 1 мм), если разность между радиусами описанной около него и вписанной и него окружностями равна 48 мм.
Радиус окружности r =
. Около этой окружности описан равносторонний треугольник и через центр окружности проведена прямая, параллельная одной из сторон треугольника. Найти третрезок этой прямой, заключённый между двумя другими сторонами.
. Около этой окружности описан равносторонний треугольник и через центр окружности проведена прямая, параллельная одной из сторон треугольника. Найти третрезок этой прямой, заключённый между двумя другими сторонами.В окружность, радиус которой R =
, вписан квадрат, Из одной вершины этого квадрата проведены две корды, каждая из которыя стягивает дугу в 120°. Найти длину отрезка MN диагонали квадрата между этими хордами.

, вписан квадрат, Из одной вершины этого квадрата проведены две корды, каждая из которыя стягивает дугу в 120°. Найти длину отрезка MN диагонали квадрата между этими хордами.
Общая хорда двух пересекающихся окружностей равна 100 мм. Найти (с точностью до 1 мм) расстояние между центрами этих окружностей, если указанная хорда служит в одной окружности стороной вписанного квадрата, а в другой — стороной правильного вписанного шестиугольника и центры окружностей расположены по разные стороны от хорды.
Из точки вне окружности проведены две секущие, соответственно равные 24 дм и 16 дм, Сумма внешних отрезков этих секущих равна 10 дм. Внутренний отрезок большей секущей служит стороной вписанного в окружность квадрата. Найти расстояние (с гочностью до 1 см) меньшей секущей от центра.
В сегмент с дугой в 120° вписан прямоугольник, сторона которого, лежащая на хорде, в 4 раза больше другой стороны. Найти стороны прямоугольника, если высота сегмента равна 20 мм.
Расстояние между центрами двух шкивов одинакового диаметра равно 140 см. Диаметр каждого шкива 20 см. Найти с точностью до 1 см длину ремня, надетого на эти шкивы.

На чертеже дана схема ременной передачи вращения шкивов. Найти приближённо, с точностью до 5 см, длину ремня, исходя из размеров, указанных на чертеже в сантиметрах, и считая дуги обхвата ремнём равными полуокружностям.

Диаметр шкива 400 мм, угол обхвата шкива ремнём равен 244°30'. Найти длину дуги обхвата шкива ремнём c точностью до 1 мм.
На сколько сантиметров с точностью до 1 см увеличится длина окружности, диаметр которой 50 см, если радиус увеличить на 10%?
Насколько увеличится (в метрах) диаметр окружности, если длину окружности увеличить на 1 м?
- Выбери ответ
- На ≈ 0,338 м.
- На ≈ 0,328 м.
- На ≈ 0,318 м.
- На ≈ 0,308 м.
- На ≈ 0,298 м.
Две взаимно перпендикулярные хорды окружности, из которых одна служит стороной вписанного квадрата, а другая - вписанного равностороннего треугольника, делятся точкой пересечения на части так, что стороны греугольника равна
см и большая часть стороны квадрата
см. Найти с точностью до 0,1 см длину окружности.
см и большая часть стороны квадрата
см. Найти с точностью до 0,1 см длину окружности.Найти с точностью до 1 мм длину окружности, если она больше периметра правильного вписанного в неё шестиугольника на 140 мм. (Взять π ≈ 3,1416.)