| К лекциям по динамике | К списку заданий по динамике | Образец выполнения задания |
УРАВНЕНИЯ ЛАГРАНЖА 2 РОДА
Для приведенных на схемах 1 - 30 механических систем, используя уравнения Лагранжа второго рода, определить указанное на схеме угловое ускорение или линейное ускорение. Нити невесомы и нерастяжимы. Принятые обозначения: m — массы тел, R и r — радиусы, ρ — радиус инерции (если он не указан, тело считать однородным цилиндром); при наличии трения указываются: f — коэффициент трения скольжения, fk — коэффициент трения качения.
| Вариант | Схема варианта | Данные схемы |
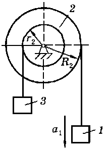
| 1 | ![]() |
m2 = 4 m1, m3 = m1/2, r2 = 20 см, R2 = 30 см, ρ2 = 25 см. |
| 2 | ![]() |
M = 100 Н·м, m1 = 80 кг, m2 = 100 кг, r1 = 25 см. |
| 3 | ![]() |
m2 = 3 m1, m3 = m1/3, r2 = 15 см, R2 = 20 см, ρ2 = 25 см. |
| 4 | ![]() |
m2 = 2 m1, m3 = m1/3 |
| 5 | ![]() |
m2 = 2 m1, m3 = 3 m1, r2 = 20 см, R2 = 40 см, ρ2 = 30 см. |
| 6 | ![]() |
F = 600 H, m1 = 50 кг, m2 = 100 кг, r2 = 25 см, R2 = 35 см, ρ2 = 30 см. Блок невесом. |
| 7 | ![]() |
m2 = 2 m1, m3 = 3 m1. Колёса тележки невесомы. |
| 8 | ![]() |
m2 = m1/2, m3 = 2 m1, r2 = 30 см, R2 = 40 см, ρ2 = 35 см. |
| 9 | ![]() |
F = 340 H, m1 = 70 кг, m2 = 40 кг |
| 10 | ![]() |
M = 1000 Н·м, m1 = 200 кг, m2 = 150 кг, m3 = 300 кг, r2 = 40 см, R2 = 50 см, r3 = 30 см, ρ2 = 45 см. |
| 11 | ![]() |
M = 500 Н·м, m1 = 80 кг, m2 = 120 кг, m3 = 150 кг, r2 = 20 см, R2 = 30 см, r3 = 35 см, ρ2 = 25 см. |
| 12 | ![]() |
m1 = 100 кг, m2 = 100 кг, m3 = 150 кг, r2 = 25 см, R2 = 50 см, ρ2 = 35 см, f = 0,3. |
| 13 | ![]() |
M = 250 Н·м, m1 = 40 кг, m2 = 60 кг, m3 = 75 кг, r2 = 20 см, R2 = 30 см, r3 = 35 см, ρ2 = 25 см. |
| 14 | ![]() |
m2 = 3 m1, m3 = 2 m1, m4 = 2 m1, r2 = 15 см, R2 = 30 см, ρ2 = 25 см, r3 = 20 см, R3 = 40 см, ρ3 = 35 см. |
| 15 | ![]() |
m1 = 50 кг, m2 =300 кг, r2 = 30 см, fk = 0,2 см. Блок невесом. |
| 16 | ![]() |
M = 100 Н·м, m1 = 50 кг, m2 = 100 кг, m3 = 100 кг, r2 = 20 см. |
| 17 | ![]() |
F = 500 H, m1 = 60 кг, m2 = 100 кг, m3 = 120 кг, r2 = 15 см, R2 = 30 см, ρ2 = 25 см, r3 = 40 см, R3 = 50 см. Рукоятка невесома. |
| 18 | ![]() |
Mc = 15 Н·м, m1 = 8 кг, m2 = 12 кг, m3 = 10 кг, R2 = 20 см, ρ2 = 18 см. r3 = 20 см, M = 45 Н·м, r2 = 15 см. |
| 19 | ![]() |
m2 = m1, m3 = m1/2. Блок 4 невесом. |
| 20 | ![]() |
m2 = 3 m1, m3 = m1/2, r = 15 см, ρ2 = 25 см, f = 0,3. Блок невесом. |
| 21 | ![]() |
M1 = 80 Н·м, M2 = 20 Н·м, M3 = 15 Н·м, m1 = 40 кг, m2 = 30 кг, m3 = 20 кг, r1 = 50 см, r2 = 40 см, r3 = 30 см. |
| 22 | ![]() |
m1 = 15 кг, m2 = 20 кг, m3 = 10 кг, r1 = 50 см, r2 = 25 см, M = 250 Н·м, Mc = 30 Н·м. |
| 23 | ![]() |
F = 160 H, m1 = 20 кг, m2 = 35 кг, r2 = 40 см, R2 = 50 см, ρ2 = 45 см. Блок невесом. |
| 24 | ![]() |
m3 = m2 = m1, r3 = r2 = r1, α = 60°, β = 30°. |
| 25 | ![]() |
Mc = 60 Н·м, F = 500 H, m1 = 30 кг, m2 = 40 кг, m3 = 20 кг, r1 = 40 см, R1 = 50 см, r2 = 50 см, R2 = 60 см, ρ1 = 45 см, ρ2 = 55 см. |
| 26 | ![]() |
F = 190 H, m1 = 50 кг, m2 = 40 кг. |
| 27 | ![]() |
F = 170 Н, m1 = 18 кг, m2 = 24 кг, m3 = 12 кг, r1 = 20 см, R1 = 30 см, r2 = 25 см, ρ1 = 25 см, ρ2 = 35 см, R2 = 35 см. |
| 28 | ![]() |
m1 = m2, R2 = 50 см, r2 = 35 см, ρ2 = 45 см. Блок невесом. |
| 29 | ![]() |
M = 20 Н·м, m1 = 3 кг, m2 = 5 кг, m3 = 10 кг, r2 = 20 см, R2 = 40 см, ρ2 = 20 √2 см, f = 0,2. Блок невесом. |
| 30 | ![]() |
m2 = m1/2, r2 = 15 см, fk = 0,2 см. |





























